Last updated: March 22nd, 2018 at 15:11 UTC+01:00
SamMobile has affiliate and sponsored partnerships, we may earn a commission.
Reading time: 2 minutes
It is a given that both the consumers and the companies dream about an ‘over the air’ wireless charging technology. Many companies around the world have been working to turn this dream into a reality, and Samsung is one of them. Being the largest vendor of many electronic devices in the world, it is natural for Samsung to be interested in developing easy ways to charge devices.
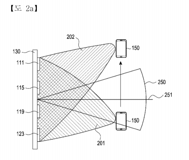
A Samsung patent published recently in the WIPO (World Intellectual Property Organisation) database confirms Samsung’s interest in developing a truly wireless charging technology. The patent was originally filed in 2016 in South Korea and describes a way to focus the energy on a particular device in the room. The system Samsung envisages can not only focus power on specific devices but can also circumvent obstacles using reflectors and charge the devices in the room. What this essentially means is that a user can walk around with his phone or a tablet while it is charging wirelessly.
Of course, there is no guarantee that this patent will turn into a real commercial product as is the case with many patents. However, there is no doubt this is the next logical evolution of the current wireless charging technologies. Over the air wireless charging is not a matter of ‘if' but ‘when'. Let's hope Samsung can overcome all the barriers and bring this futuristic technology into our lives soon.
