Last updated: March 5th, 2014 at 05:31 UTC+01:00


Samsung patent filing reveals a tablet with curved margins

Harish J.

Reading time: 1 minutes

samsung-logo-feature-4
Tablet
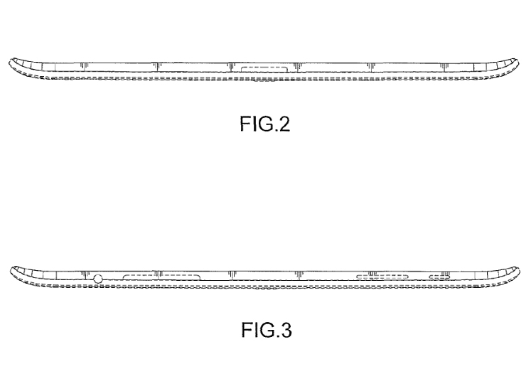
Samsung hasn’t changed the design much on its Galaxy Tab line of tablets. The Galaxy Tab 3 looks similar to the Galaxy Tab 2, and if the leaks regarding the Galaxy Tab 4 are legitimate, the manufacturer is looking to continue the design ethos. However, there might be a new design in the works as Samsung’s latest patent filing reveals a tablet design that features curved margins. The screen of the tablet does not seem to curve or flex, with only the left and right margins slightly curving. Also, the bezels on the tablet are very slim, and the lack of a hardware button means that this will likely be the next-generation Nexus 10, or Samsung is looking to do a major overhaul as far as its tablet design is concerned.

Samsung claims in the filing that the design is “the ornamental design for a tablet computer, as shown and described.” It is likely that this tablet will be a Samsung offering and not a Nexus device, as it has been rumored that HTC will be the next manufacturer of the next Nexus tablet. If so, it is interesting to see how the finished product looks like.

Samsungs-design-for-a-tablet-with-curved-margins (2)

Samsungs-design-for-a-tablet-with-curved-margins (3)

Samsungs-design-for-a-tablet-with-curved-margins (1)

Samsungs-design-for-a-tablet-with-curved-margins

Via Source