Last updated: February 6th, 2017 at 10:53 UTC+01:00
SamMobile has affiliate and sponsored partnerships, we may earn a commission.
Reading time: 1 minutes
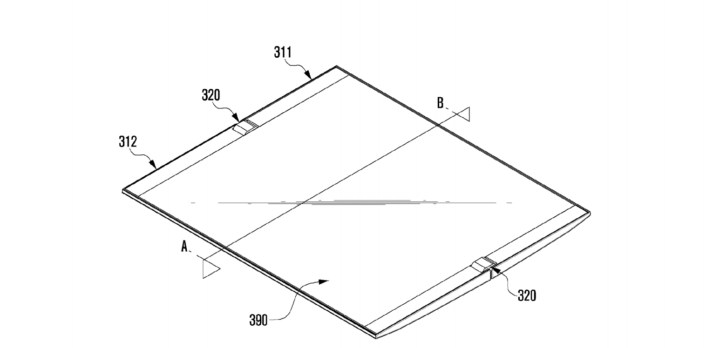
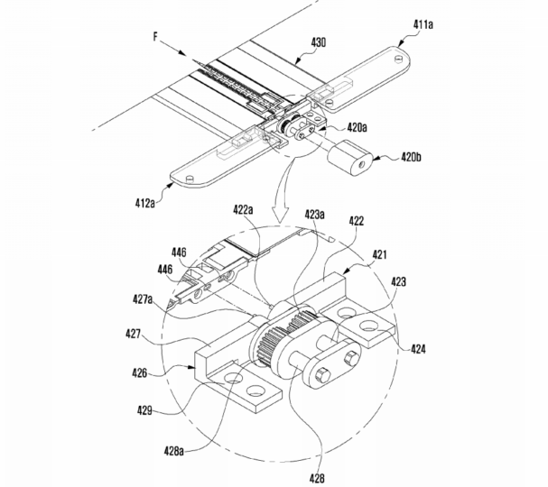
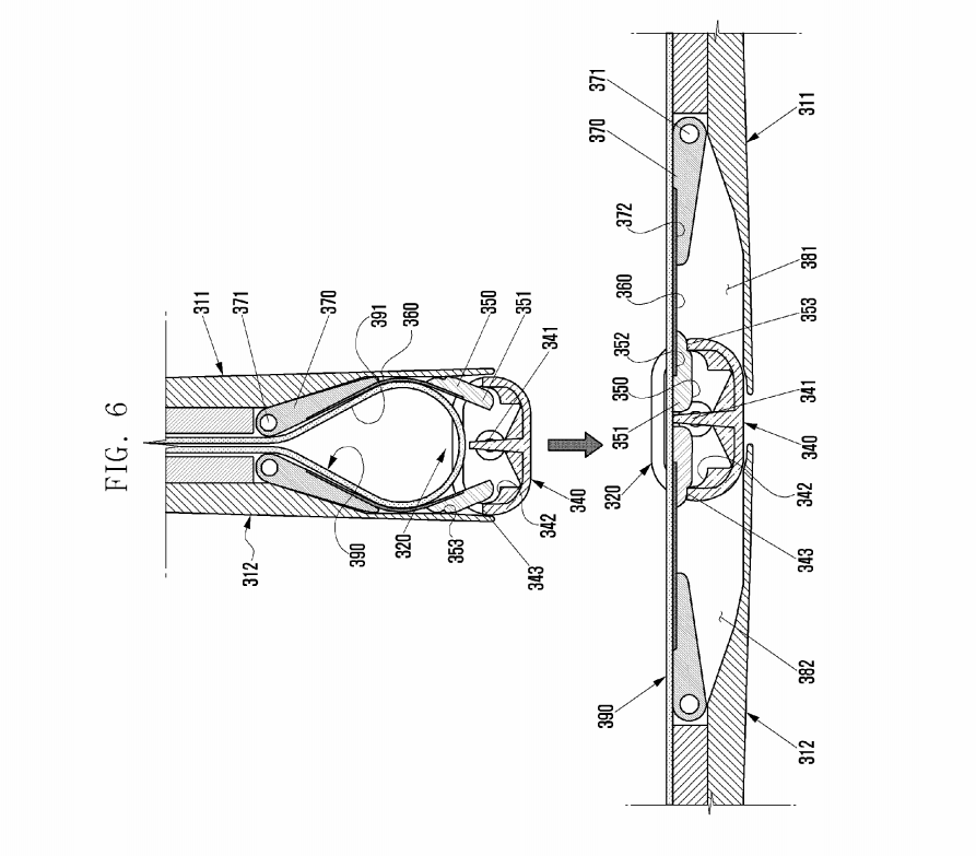
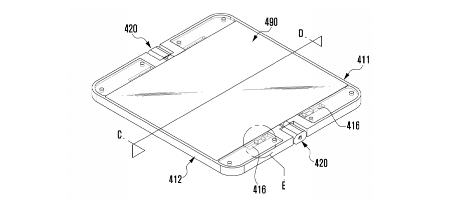
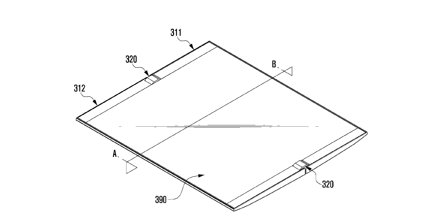
The patent application, which was filed with the US PTO by Samsung on June 9, 2015, under the patent number US 9,557,771 B2, describes a device with a foldable display supported by a mechanical hinge in the middle. As per the patent application, it appears that the screen folds inwards.
Samsung and LG are both working on smartphones, tablets, and hybrid devices with foldable displays. Samsung seems to be ahead in the race as it is being expected that the company will unveil its first such device sometime in the third quarter of 2017.
Asif is a computer engineer turned technology journalist. He has been using Samsung phones since 2004, and his current smartphone is the Galaxy S23 Ultra. He loves headphones, mechanical keyboards, and PC hardware. When not writing about technology, he likes watching crime and science fiction movies and TV shows.






