Cyber week deals! Galaxy Watch8 Classic, Fold 7, S25 Ultra. Follow us on YouTube, TikTok, or LinkedIn
Last updated: February 4th, 2025 at 14:28 UTC+01:00
SamMobile has affiliate and sponsored partnerships, we may earn a commission.
Reading time: 2 minutes
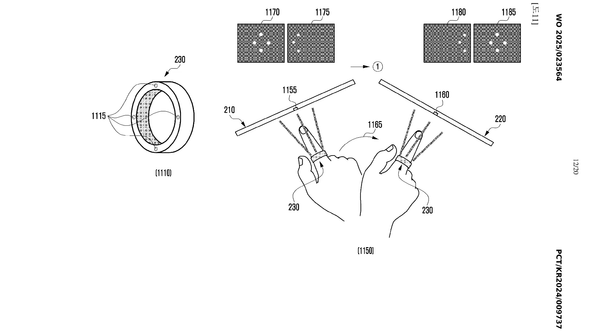
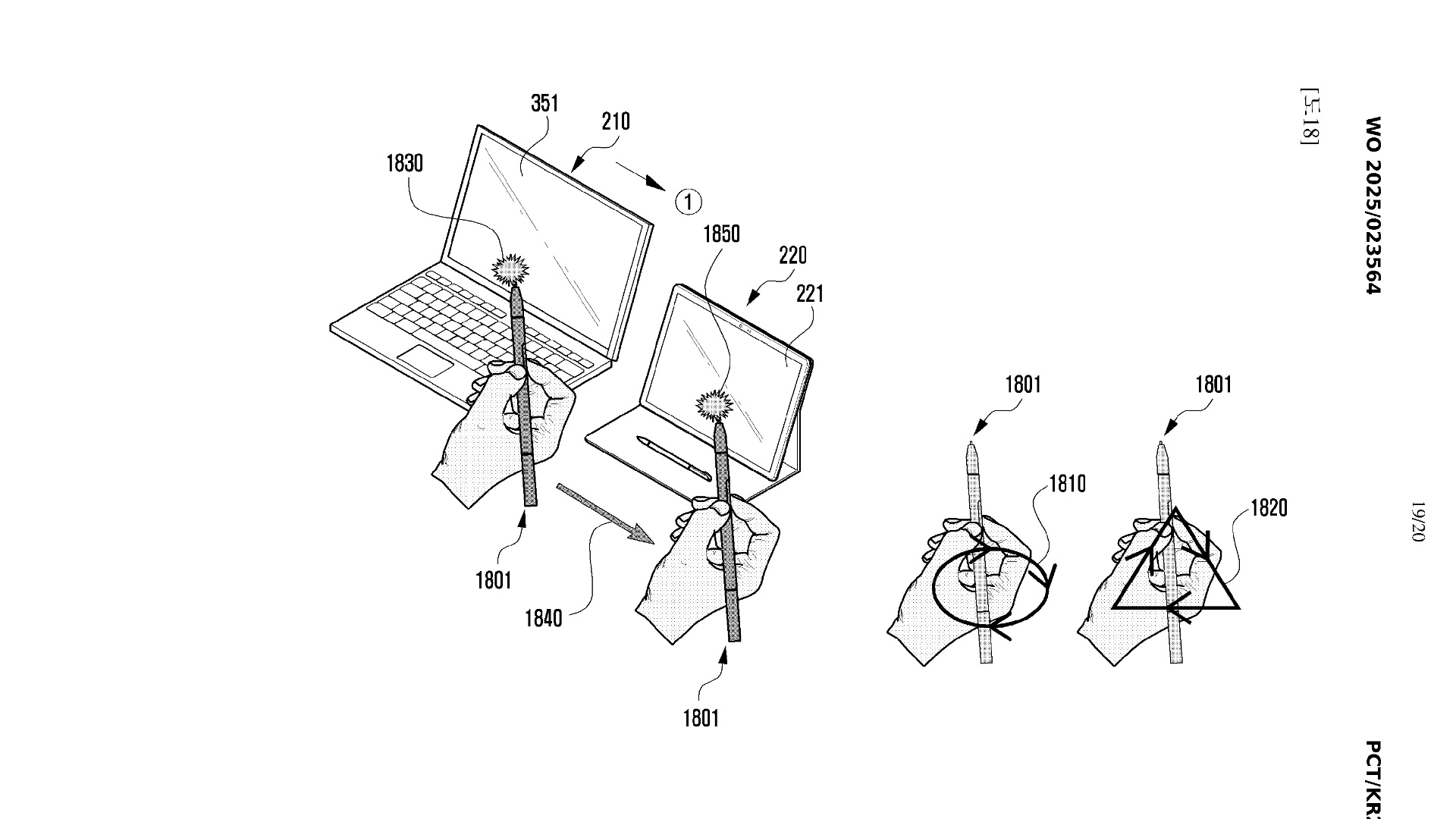
Samsung appears to be working on a technology that could allow you to use a Galaxy Ring (or a similar device) to transfer files from one device to another. A patent related to that technology was recently filed (via 91Mobiles) with the World Intellectual Property Organization (WIPO).
As the images below explain, Samsung's patent talks about controlling the UI and transferring files between connected devices like a Galaxy Book laptop and a Galaxy tablet using a wearable device like the Galaxy Ring. You might be able to pick files from one device (using finger or hand gestures), drag them virtually, and drop them to another device.
This isn't the first time the Galaxy Ring is seen controlling a device. You can already use the Galaxy Ring to control your smartphone's camera.
Moreover, Samsung says it isn't necessary that only the Galaxy Ring should be used for such controls. It could be any portable device, so it could bring this technology to a Galaxy Watch or an S Pen.
The story continues after our Galaxy Ring review in the video below.
Note: Samsung (and other brands) work on several technologies and apply for patents for them each year. However, very few of those patents are actually used in products that get launched. So, we can't say for sure if Samsung would definitely bring this technology sometime in the future.
Image Credits: Samsung
Asif is a computer engineer turned technology journalist. He has been using Samsung phones since 2004, and his current smartphone is the Galaxy S21 Ultra. He loves headphones, mechanical keyboards, and PC hardware. When not writing about technology, he likes watching crime and science fiction movies and TV shows.

