Cyber week deals! Galaxy Watch8 Classic, Fold 7, S25 Ultra. Follow us on YouTube, TikTok, or LinkedIn
Last updated: February 24th, 2025 at 17:36 UTC+01:00
SamMobile has affiliate and sponsored partnerships, we may earn a commission.
Reading time: 2 minutes
Exactly what shape the latter product will take is unknown, but a new patent application found in the database of the US Patent and Trademark Office reveals some interesting ideas running through Samsung's mind (via XpertPick).
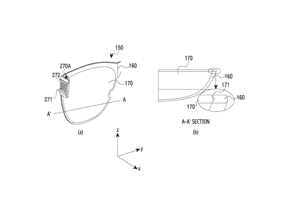
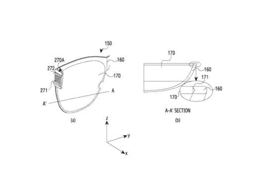
The patent details a wearable device equipped with a vision correction system that may allow wearers who need prescription glasses to customize their experience and get a better image.
Samsung talks about a display system and attachable prescription lenses, along with a mechanism based on gears and actuators. The mechanized system can move the lenses to help users achieve a better focus or field of vision of the main display.
It's a very appealing concept, to say the least, particularly for people who wear corrective eyewear and have an interest in virtual or augmented reality experiences.
But whether Samsung can turn this idea into a real product is another matter. As always, patent applications don't always become actual products. Still, Samsung is working on AR/XR/smart glasses, that much we know. And it's interesting to see what concepts the company appears to be cooking.
As for the Project Moohan headset, it definitely exists, and it's on its way. Hands-on videos have revealed that it is somewhat similar to the Apple Vision Pro, but in some ways, better designed and more clever.
Mihai is a blogger and column writer at SamMobile. His first Samsung phone was an A800 which took a lot of beating, and a part of him still misses the novelty of the clamshell design. In his free time, he enjoys watching shows, documentaries, and stand-up comedy; listening to music, taking walks, and occasionally playing old(er) video games.