Last updated: October 23rd, 2024 at 13:59 UTC+02:00
SamMobile has affiliate and sponsored partnerships, we may earn a commission.
Reading time: 3 minutes
Smartwatches don't have this problem, thanks to their adjustable wrist strap design. Galaxy Rings don't have that luxury, but Samsung appears to be thinking of clever solutions to overcome the size issue.
A patent published this week (via GalaxyClub) reveals a clever design that could allow Samsung to release an adjustable Galaxy Ring.
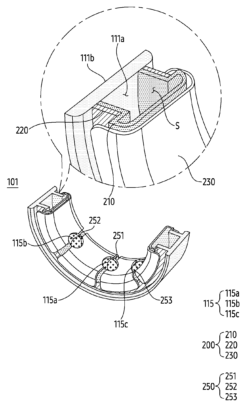
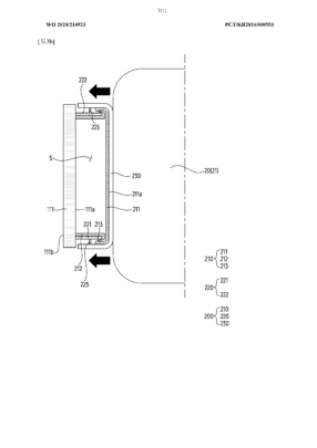
The patent was filed at KIPRIS in December 2023 but published earlier this week. It describes a mechanism for a ring, consisting of an inner band that flexes and can adjust to different sizes.
In other words, if you ever watched The Lord of The Rings by Peter Jackson (at least the first movie) this self-adjustable ring wouldn't shrink like The One Ring does between Isildur's fingers.
Rather, only the inner band of the Galaxy Ring could change size while the outer layer would maintain its diameter.
For starters, this design could offer a snugger fit for every user. It likely wouldn't reduce the number of Galaxy Ring sizes by much, as the outer band would still have a fixed size, and the Galaxy Ring isn't very thick. The inner band would not have that much room for movement.
Nevertheless, this mechanism could at least allow users to keep wearing their rings optimally, regardless of whether or not they gain or lose a bit of weight.
People who wear biometric wearables are often fitness-minded, and that's one issue with the Galaxy Ring as it is right now. Anyone who measures the ring, buys it, and loses weight will likely have issues with the wearable's fit in the long run.
The story continues after the video
As for the patent, it sounds like a fantastic idea, but we have to remember that patent applications don't always result in real products we can buy.
Whether Samsung will release a self-adjustable smart ring remains to be determined. One issue could be that the complexity of such a device could increase the wearable's price. And arguably, the Galaxy Ring is already pricey.
Another problem could be that the moving inner band of the self-adjusting Galaxy Ring could compromise water resistance. So, we'll have to wait and see if something comes out of this patent. We will keep you posted.
Mihai is a blogger and column writer at SamMobile. His first Samsung phone was an A800 which took a lot of beating, and a part of him still misses the novelty of the clamshell design. In his free time, he enjoys watching shows, documentaries, and stand-up comedy; listening to music, taking walks, and occasionally playing old(er) video games.
