Last updated: August 26th, 2022 at 14:03 UTC+02:00


Samsung may be working on a dual-screen phone with transparent display

Mihai Matei

Reading time: 3 minutes

galaxy s22 review 10
Phone
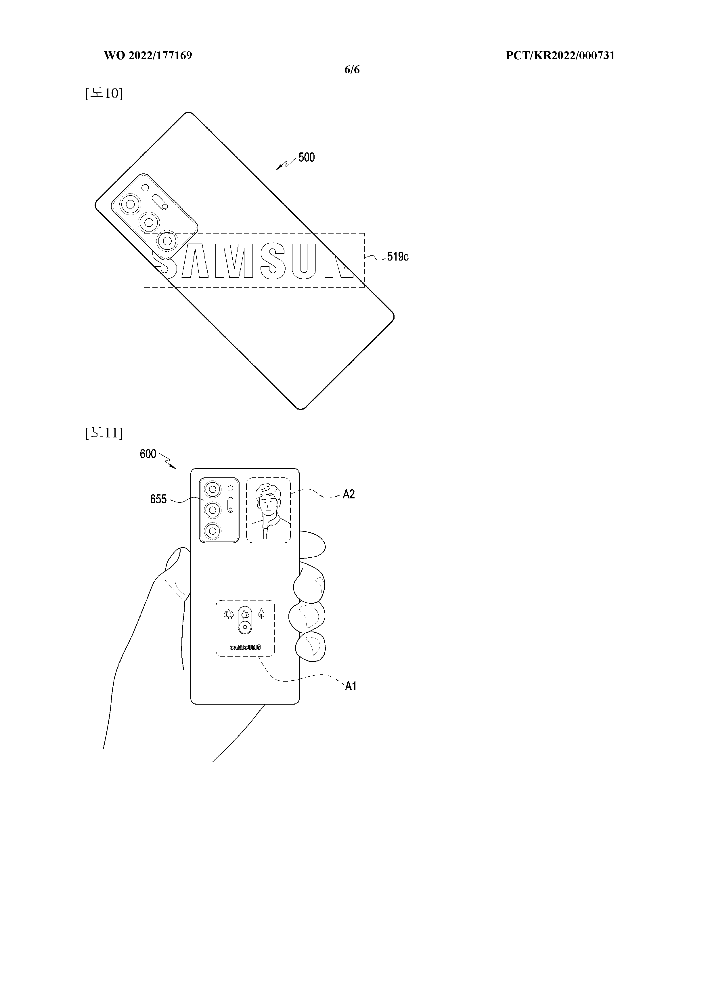
The land of unusual ideas that may never materialize is vast. In it, we found an intriguing patent application from Samsung Electronics on a ‘candy-bar' smartphone equipped with a second, rear-facing transparent display. Smartphones with secondary rear-facing panels aren't entirely new, but Samsung's approach described in this recent patent application has some unique characteristics.

The recent patent application discovered at WIPO (World Intellectual Property Office) was filed in January this year and published yesterday, August 25. It describes a rigid smartphone with an unassuming design, save for the addition of a rear-facing display that's virtually invisible (or blends in with the rest of the rear panel) when turned off entirely or partially.

As some readers might recall, the Chinese smartphone maker ZTE attempted something similar a few years ago when it released the Nubia X and Nubia Z20. However, these devices didn't use a transparent rear-facing display. Instead, they employed a rear glass panel with a higher opacity to obscure a regular rear-facing screen whenever it wasn't turned on. On the most basic level, ZTE's old technology is comparable to the Galaxy Z Flip 4‘s cover screen.

In contrast, Samsung's recent patent application describes a device equipped with a transparent display that could seemingly turn on fully or partially, presumably akin to an Always-on-Display. It could be used to showcase logos, unique designs, information at a glance, etc. and the possibilities for customization seem endless.

Will Samsung release a Galaxy phone with a rear-facing transparent display?

The patent application is real, which means that Samsung's engineers have at least entertained the idea of equipping a Galaxy smartphone with this type of technology. But as always, whether or not a patented technology becomes a real product is another matter. Samsung has plenty of patents that will never materialize, and this could be one of them.

Nevertheless, this technology may have applications in foldable devices. Although Galaxy phones with transparent rear-facing displays might not hit the market anytime soon, it's not beyond the realm of possibility for this type of technology to make its way onto the mobile market, one way or another.

All in all, this patent application may offer a glimpse into the future of Samsung displays for select mobile devices. However, we wouldn't bet on the dual-screen ‘candy bar' design to redefine the Galaxy smartphone lineup in the foreseeable future.